高等教育领域数字化综合服务平台
云上高博会服务平台
高校科技成果转化对接服务平台
大学生创新创业服务平台
登录
|
注册
|
武汉工程大学
搜 索
热门搜索:
企业会员招募
63届高博会
高校科技成果
首页
学校简介
资讯动态
科技成果
创新创业
企业入驻
需求发布
武汉工程大学
湖北省
0
高校采购信息
171
科技成果项目
0
创新创业项目
0
高校项目需求
科技成果
项目成果
政策动态
成果领域
电子信息
新材料及其应用
新能源与节能环保
高端装备制造
资源与环境
生物、医药及医疗机械
新一代信息技术
先进制造与自动化
化学化工
其它领域
人工智能
离子交换法
离子交换法处理阳图PS版电解槽
合作:
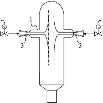
反应器
撞击流气液反应器
合作:
首页
上一页
1
2
3
4
5