高等教育领域数字化综合服务平台
云上高博会服务平台
高校科技成果转化对接服务平台
大学生创新创业服务平台
登录
|
注册
|
华中科技大学
搜 索
热门搜索:
企业会员招募
63届高博会
高校科技成果
首页
学校简介
资讯动态
高校采购
科技成果
创新创业
企业入驻
需求发布
华中科技大学
教育部
74
高校采购信息
3294
科技成果项目
0
创新创业项目
0
高校项目需求
科技成果
项目成果
政策动态
成果领域
电子信息
新材料及其应用
新能源与节能环保
高端装备制造
资源与环境
生物、医药及医疗机械
交通规划及运输
新一代信息技术
先进制造与自动化
化学化工
其它领域
现代海洋
农业科技
人工智能
航空航天
静电纺丝
一种基于静电纺丝工艺制备高比表面积碳纤维布的方法
合作:
纳米结构
一种纳米结构三维形貌测量方法及装置
合作:
有机场效应晶体管
制造有机场效应晶体管的方法、实现该方法的喷嘴及装置
合作:
合金纳米颗粒
一种核壳结构合金纳米颗粒的制备方法
合作:
滚动直线导轨
一种检测滚动直线导轨副性能的装置
合作:
铣削稳定性
一种用于提高铣削稳定性的金属深冷加工方法
合作:
多层薄膜
一种多层薄膜微结构自对准制备方法及装置
合作:
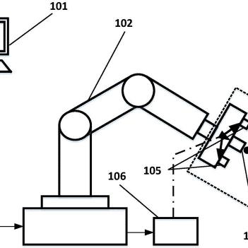
多机械手臂
一种薄壁件铣削振动的多机械手臂随动抑制装置
合作:
设备维护
设备预防性维护与柔性作业车间控制集成优化方法
合作:
机床激励
一种基于切削渐变宽度凸台的机床激励方法
合作:
首页
上一页
1
2
...
9
10
11
...
39
40
下一页
尾页