高等教育领域数字化综合服务平台
云上高博会服务平台
高校科技成果转化对接服务平台
大学生创新创业服务平台
登录
|
注册
|
华中科技大学
搜 索
热门搜索:
企业会员招募
63届高博会
高校科技成果
首页
学校简介
资讯动态
高校采购
科技成果
创新创业
企业入驻
需求发布
华中科技大学
教育部
74
高校采购信息
3294
科技成果项目
0
创新创业项目
0
高校项目需求
科技成果
项目成果
政策动态
成果领域
电子信息
新材料及其应用
新能源与节能环保
高端装备制造
资源与环境
生物、医药及医疗机械
交通规划及运输
新一代信息技术
先进制造与自动化
化学化工
其它领域
现代海洋
农业科技
人工智能
航空航天
心电信号
一种基于粒子群优化的心电信号自适应非局部均值降噪方法
合作:
心电信号
一种基于 ESMD 方法的心电信号降噪方法
合作:
磁性微球
一种还原自组装蛋白质包裹磁性微球的制备方法及应用
合作:
滚珠丝杠
一种数控机床滚珠丝杠磨损状态的预测方法
合作:
核外电子概率
基于核外电子概率密度分布的复杂曲面零件匹配检测方法
合作:
无衍射光
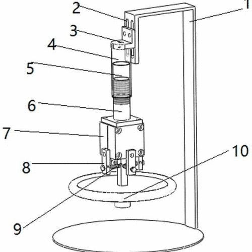
一种无衍射光空间直线度基准的发生装置
合作:
电子激光靶
隧道掘进施工导向系统的电子激光靶
合作:
水压溢流阀
中、高压直动式水压溢流阀
合作:
工业摄像机
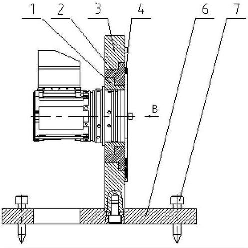
一种四自由度可调的工业摄像机装夹机构
合作:
印刷品质量
一种印刷品质量在线检测装置
合作:
首页
上一页
1
2
...
39
40
41
...
86
87
下一页
尾页