高等教育领域数字化综合服务平台
云上高博会服务平台
高校科技成果转化对接服务平台
大学生创新创业服务平台
登录
|
注册
|
华中科技大学
搜 索
热门搜索:
企业会员招募
63届高博会
高校科技成果
首页
学校简介
资讯动态
高校采购
科技成果
创新创业
企业入驻
需求发布
华中科技大学
教育部
74
高校采购信息
3294
科技成果项目
0
创新创业项目
0
高校项目需求
科技成果
项目成果
政策动态
成果领域
电子信息
新材料及其应用
新能源与节能环保
高端装备制造
资源与环境
生物、医药及医疗机械
交通规划及运输
新一代信息技术
先进制造与自动化
化学化工
其它领域
现代海洋
农业科技
人工智能
航空航天
三维微型模具
一种三维微型模具的制造方法
合作:
超精密微动工作台
一种三自由度超精密微动工作台
合作:
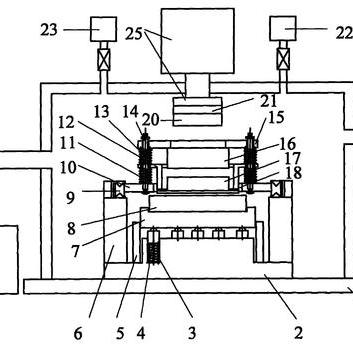
运动平台
一种超精密双层宏微运动平台的同步控制系统
合作:
柔性基材传输
一种卷到卷间歇式柔性基材传输的张力控制方法及装置
合作:
热键合
一种热键合装置
合作:
阳极键合
一种阳极键合装置
合作:
激光焊接
激光焊接中狭窄对接焊缝的测量方法及装置
合作:
数控机床
一种数控机床加工性能监控系统
合作:
磁致伸缩导波
一种确定磁致伸缩导波检测工作点的方法
合作:
重载精密减振器
一种重载精密减振器及其构成的减振系统
合作:
首页
上一页
1
2
...
41
42
43
...
86
87
下一页
尾页